PT Aéreo 250KVA
-
- Velha Guarda
- Mensagens: 147
- Registado: 19 mar 2018, 14:27
- Localização: Luanda
- Enviou: 6 vezes
- Agradecimento recebido: 1 vez
PT Aéreo 250KVA
Boa noite amigos,
Estou a desenvolver o meu primeiro projeto com PT Aéreo de 250kVA.
Pretendo projetar o PT Aéreo com o QGBT junto do posto em betão.
Terei um grupo gerador de 250kVA, posso instalar o ATS no interior do QGBT o mesmo vai alimentar 4 quadros?
Cpts.
Estou a desenvolver o meu primeiro projeto com PT Aéreo de 250kVA.
Pretendo projetar o PT Aéreo com o QGBT junto do posto em betão.
Terei um grupo gerador de 250kVA, posso instalar o ATS no interior do QGBT o mesmo vai alimentar 4 quadros?
Cpts.
-
- Curioso
- Mensagens: 19
- Registado: 29 dez 2008, 20:41
- Localização: Portalegre
- Agradecimento recebido: 1 vez
Re: PT Aéreo 250KVA
Salvo melhor opinião, a mim fazia-me mais sentido utilizar apenas uma das saídas do Quadro do PT para alimentar um quadro com barramentos junto ao gerador e ao inversor. Nesse quadro de barrramentos, shuntava os cabos para o inversor com os cabos de saída para um QGBT a criar aí junto ao gerador. Desse QGBT, faria então as quatro saídas para os quadros parciais.
Caso opte por fazer como diz, a protecção das 4 saídas é feita por fusiveis no quadro do PT, o que não me parece nada pratico
Caso opte por fazer como diz, a protecção das 4 saídas é feita por fusiveis no quadro do PT, o que não me parece nada pratico
-
- Velha Guarda
- Mensagens: 147
- Registado: 19 mar 2018, 14:27
- Localização: Luanda
- Enviou: 6 vezes
- Agradecimento recebido: 1 vez
Re: PT Aéreo 250KVA
Caro amigo,arcturus Escreveu: 31 jan 2021, 10:46 Salvo melhor opinião, a mim fazia-me mais sentido utilizar apenas uma das saídas do Quadro do PT para alimentar um quadro com barramentos junto ao gerador e ao inversor. Nesse quadro de barrramentos, shuntava os cabos para o inversor com os cabos de saída para um QGBT a criar aí junto ao gerador. Desse QGBT, faria então as quatro saídas para os quadros parciais.
Caso opte por fazer como diz, a protecção das 4 saídas é feita por fusiveis no quadro do PT, o que não me parece nada pratico
Agradeço pela sugestão. Vou proceder dessa forma.
Cpts.
-
- Velha Guarda
- Mensagens: 147
- Registado: 19 mar 2018, 14:27
- Localização: Luanda
- Enviou: 6 vezes
- Agradecimento recebido: 1 vez
Re: PT Aéreo 250KVA
Pretendo, fazer a distribuição de acordo ao anexo.Duzia12 Escreveu: 31 jan 2021, 12:11 O PT é normalizado já tem um quadro geral e apenas pode sair um cabo a alimentar o QGBT
Cpts.
- Anexos
-
- Draft_Proposta_Distribuição de Energia em Baixa Tensão_01_02_2021.pdf
- (949.08 KiB) Transferido 316 vezes
-
- Curioso
- Mensagens: 19
- Registado: 29 dez 2008, 20:41
- Localização: Portalegre
- Agradecimento recebido: 1 vez
Re: PT Aéreo 250KVA
Certo. Deves representar no esquema, o quadro do PT e a respectiva protecção do cabo (provavelmente fusiveis de 250 A) No quadro do PT, ocupas apenas um dos triblocos de saída, ficando os restantes como reserva
-
- Oficial
- Mensagens: 5316
- Registado: 27 fev 2008, 20:53
- Localização: Barcelos
- Enviou: 3 vezes
- Agradecimento recebido: 17 vezes
Re: PT Aéreo 250KVA
Não esquecer no QGBT " o toroidal" para as baterias de condensadores.
Atenção á potencia contratada, pois na prática deverá de ser de 60 a 70%, pode contratar 125 KVA 50% da do transformador e no futuro se ultrapassar a EDP alterará.
Tem 6 meses grátis de energia reativa . Depois deve estudar os consumos médios e aplicar um coeficiente de segurança de mais 25%
Atenção á potencia contratada, pois na prática deverá de ser de 60 a 70%, pode contratar 125 KVA 50% da do transformador e no futuro se ultrapassar a EDP alterará.
Tem 6 meses grátis de energia reativa . Depois deve estudar os consumos médios e aplicar um coeficiente de segurança de mais 25%
-
- Velha Guarda
- Mensagens: 147
- Registado: 19 mar 2018, 14:27
- Localização: Luanda
- Enviou: 6 vezes
- Agradecimento recebido: 1 vez
Re: PT Aéreo 250KVA
Pretendo colocar no quadro do PT apenas um disjuntor. Para alimentar o QGBT.arcturus Escreveu: 01 fev 2021, 13:11 Certo. Deves representar no esquema, o quadro do PT e a respectiva protecção do cabo (provavelmente fusiveis de 250 A) No quadro do PT, ocupas apenas um dos triblocos de saída, ficando os restantes como reserva
Cpts
-
- Velha Guarda
- Mensagens: 147
- Registado: 19 mar 2018, 14:27
- Localização: Luanda
- Enviou: 6 vezes
- Agradecimento recebido: 1 vez
Re: PT Aéreo 250KVA
Grato pela partilha de informação.Duzia12 Escreveu: 01 fev 2021, 17:29 Não esquecer no QGBT " o toroidal" para as baterias de condensadores.
Atenção á potencia contratada, pois na prática deverá de ser de 60 a 70%, pode contratar 125 KVA 50% da do transformador e no futuro se ultrapassar a EDP alterará.
Tem 6 meses grátis de energia reativa . Depois deve estudar os consumos médios e aplicar um coeficiente de segurança de mais 25%
-
- Velha Guarda
- Mensagens: 147
- Registado: 19 mar 2018, 14:27
- Localização: Luanda
- Enviou: 6 vezes
- Agradecimento recebido: 1 vez
Re: PT Aéreo 250KVA
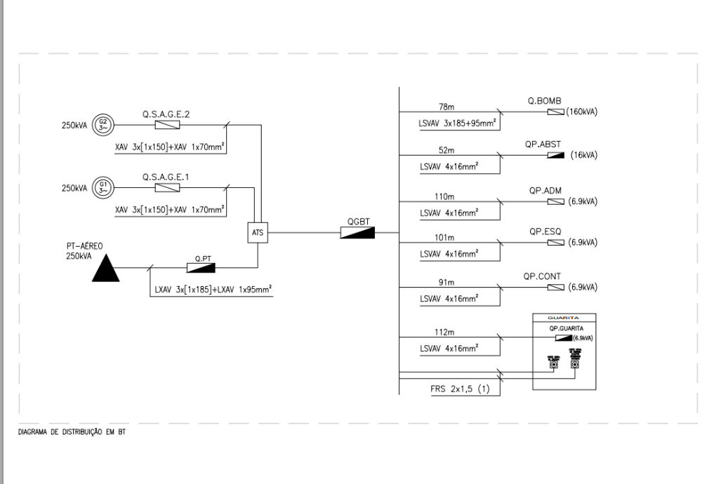
Caros amigos,
Agradeço a todos pelas ajudas.
Aproveito para partilhar o Diagrama em BT.
Quem tiver algum comentário sinta-se confortável em fazer.
Agradeço a todos pelas ajudas.
Aproveito para partilhar o Diagrama em BT.
Quem tiver algum comentário sinta-se confortável em fazer.
Cpts.
- Anexos
-
- Draft_Diagrama BT.pdf
- (100.27 KiB) Transferido 156 vezes
-
- Curioso
- Mensagens: 19
- Registado: 29 dez 2008, 20:41
- Localização: Portalegre
- Agradecimento recebido: 1 vez
Re: PT Aéreo 250KVA
não pode...
A ligação do transformador ao quadro não pode ser com esse cabo. Num Pt aereo tipo AI, o projecto tipo recomenda dois cabos de cobre 70mm em paralelo por fase, porém é pratica corrente fazer-se em cabo LXS de 95(2 condutores por fase e dois para o neutro).
Repara que este cabo vai ser metido em tubos de PVC de 63mm (com uma curva junto ao transformador), o que impossibilita meter la um cabo LXAV de 185
A ligação do transformador ao quadro não pode ser com esse cabo. Num Pt aereo tipo AI, o projecto tipo recomenda dois cabos de cobre 70mm em paralelo por fase, porém é pratica corrente fazer-se em cabo LXS de 95(2 condutores por fase e dois para o neutro).
Repara que este cabo vai ser metido em tubos de PVC de 63mm (com uma curva junto ao transformador), o que impossibilita meter la um cabo LXAV de 185
-
- Velha Guarda
- Mensagens: 147
- Registado: 19 mar 2018, 14:27
- Localização: Luanda
- Enviou: 6 vezes
- Agradecimento recebido: 1 vez
Re: PT Aéreo 250KVA
Caro amigo,arcturus Escreveu: 04 fev 2021, 21:28 não pode...
A ligação do transformador ao quadro não pode ser com esse cabo. Num Pt aereo tipo AI, o projecto tipo recomenda dois cabos de cobre 70mm em paralelo por fase, porém é pratica corrente fazer-se em cabo LXS de 95(2 condutores por fase e dois para o neutro).
Repara que este cabo vai ser metido em tubos de PVC de 63mm (com uma curva junto ao transformador), o que impossibilita meter la um cabo LXAV de 185
A minha ideia é colocar o cabo LXAV 1x185 para cada fase e neutro o mesmo não será colocado em tubo PVC por ser um cabo armado.
Essa solução não é pretica corrente também?
Cpts.
-
- Técnico Dedicado
- Mensagens: 666
- Registado: 09 dez 2014, 19:10
- Localização: Alentejo
- Enviou: 31 vezes
- Agradecimento recebido: 78 vezes
Re: PT Aéreo 250KVA
Imagino que não seja o responsável por executar isso dessa forma. Cabo armado é para enterrar, se não vai ficar enterrado não deve ser armado.
Também essa designação: LXAV 3x[1x185]+LXAV 1x95, nunca vi.
Por outro lado, o QGBT (Quadro Geral de Baixa Tensão) é o quadro que está imediatamente depois do PT. O 1º quadro da instalação é o QE (Quadro de Entrada).
Também essa designação: LXAV 3x[1x185]+LXAV 1x95, nunca vi.
Por outro lado, o QGBT (Quadro Geral de Baixa Tensão) é o quadro que está imediatamente depois do PT. O 1º quadro da instalação é o QE (Quadro de Entrada).
-
- Curioso
- Mensagens: 19
- Registado: 29 dez 2008, 20:41
- Localização: Portalegre
- Agradecimento recebido: 1 vez
Re: PT Aéreo 250KVA
Tem que seguir o projecto tipo de um PT AI.
Poste 14 Tp4. Travessa HPT4. Interruptor seccionador. Transformador colocado na ferragem de suporte (cadeira). DSTs montados na cuba do transformador. Ligação do transformador ao quadro feita em cabo cu de 70 ( 2 por fase ) ou em alumínio ( lxs 95 dois por fase), dentro de tubos PVC 63 6Kg com curvas na parte superior. O QGBT é sempre igual. Uma plataforma de manobra junto ao comando do seccionador e outra de frente ao QGBT. Uma caixa para tekecontagem. Uma terra de proteção onde liga TDS as estruturas metálicas. Uma terra de serviço ligada ao neutro.
Basicamente é isto
Poste 14 Tp4. Travessa HPT4. Interruptor seccionador. Transformador colocado na ferragem de suporte (cadeira). DSTs montados na cuba do transformador. Ligação do transformador ao quadro feita em cabo cu de 70 ( 2 por fase ) ou em alumínio ( lxs 95 dois por fase), dentro de tubos PVC 63 6Kg com curvas na parte superior. O QGBT é sempre igual. Uma plataforma de manobra junto ao comando do seccionador e outra de frente ao QGBT. Uma caixa para tekecontagem. Uma terra de proteção onde liga TDS as estruturas metálicas. Uma terra de serviço ligada ao neutro.
Basicamente é isto
-
- Velha Guarda
- Mensagens: 147
- Registado: 19 mar 2018, 14:27
- Localização: Luanda
- Enviou: 6 vezes
- Agradecimento recebido: 1 vez
Re: PT Aéreo 250KVA
Tive a ver algumas imagens de PT Aéreo e algumas mostram o PT com os cabos armados. Mais não sendo um solução fácil de executar vou seguir ao rigor o projeto tipo.luisilva78 Escreveu: 04 fev 2021, 22:22 Imagino que não seja o responsável por executar isso dessa forma. Cabo armado é para enterrar, se não vai ficar enterrado não deve ser armado.
Também essa designação: LXAV 3x[1x185]+LXAV 1x95, nunca vi.
Por outro lado, o QGBT (Quadro Geral de Baixa Tensão) é o quadro que está imediatamente depois do PT. O 1º quadro da instalação é o QE (Quadro de Entrada).
Quanto a designação do cabo, achei essa em alguns projectos para indicar 1 cabo isolado para cada fase.
Conhece outra forma de fazer essa designação?
Logo depois do PT coloquei um Q.PT esse terá a função da alimentação de um outro quadro que designei por QGBT por ser o quadro principal da instalação.
Cpts.